
Распечатать
Сплит-система Technoblock CSN 122
Доставка по городу:
бесплатно
Службой доставки:
Доставка по Санкт-Петербургу в течении 3 раб. дней с 10:00 до 18:00
Характеристики
Описание
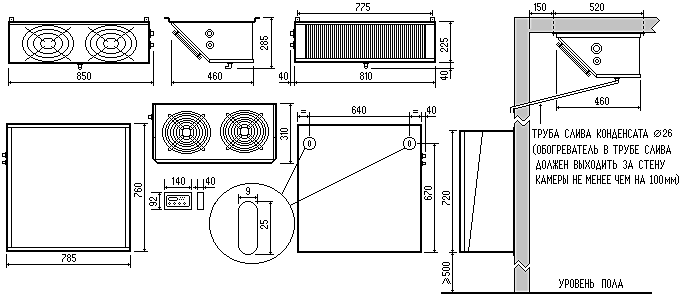
Холодильная низкотемпературная сплит-система Technoblock CSN 122 предназначается для охлаждения всего объема холодильных камер на производстве.
Общие данные
- Электронная панель управления
- Предусмотрено подключение освещения камеры
- Предусмотрено подключение микроконтакта двери камеры
- Отрегулированный прессостат низкого давления
- Трубопровод слива конденсата и талой воды во время оттайки
- Панель дистанционного управления; поставляется уже присоединенной к агрегату кабелем длиной 2.5 м (по запросу длина может быть увеличена до 20 метров)
- Обогреватель слива талой воды при оттайке в средне- и низкотемпературных агрегатах
- Компрессорно-конденсаторный блок монтируется снаружи на стене камеры, а воздухоохладитель на потолке внутри камеры
- С агрегатом поставляются соединительные трубы и кабели длиной 5 м (По запросу могут быть поставлены трубы и кабели до 10 метров)
- Трубы, конденсаторный блок и воздухоохладитель поставляются уже заправленными хладагентом и оснащены резьбовыми разъемами для быстрого соединения
- В случае установки на открытом воздухе, необходимо предохранять агрегат от непогоды.
- Допустимый диапазон внешних температур от 0°С до +45°С
- Количество фаз: 1
- Частота: 50 Гц
- допустимое отклонение не более +/- 12%
- Хладагент R404a, норма зарядки 0.9 кг
Компрессорно-конденсаторная часть
- Габариты упаковки: 640x910x930 (h) мм
- Компрессор фирмы Aspera, тип: герметичный, модель: J9232GK, мощность: 1.2 ЛС
- Конденсатор - Медные трубки с алюминиевыми ребрами - Шаг ребер 3,2 мм, площадь поверхности: 8,9 м² - Количество вентиляторов 2, диаметр 254 мм - Мощность двигателей 73 Вт - Производительность: 2160 м³/ч
Воздухоохладитель
- Масса нетто 16 кг, масса брутто: 30 кг
- Габариты упаковки: 62x96x36 (h) мм
- Тип оттайки: ТЭН
- Мощность оттайки 0,9 кВт
- Медные трубки с алюминиевыми ребрами
- шаг ребер 4,2/8,4 мм, площадь поверхности: 8,4 м²
- Количество вентиляторов 2 диаметром 254 мм
- Мощность двигателей 73 Вт
- Производительность 1590 м³/ч
- Длина струи: 6 м
Диаметр трубопроводов
- Подающего 10 мм
- Всасывающего 16 мм
- Слива воды 14 мм
Электрические кабели
- Внешний 3 x 4,0 мм²
- Силовой межблочный 4 x 1,5 мм²
- Пульта дистанционного управления 2 x 1,0 мм²
- На датчики 4 x 0,75 экран. экр
Показать полностью
Свернуть описание
Габариты (ДxШxВ):
850 x 460 x 285 мм
Отзывы о товаре
Напиши отзыв первым!
Документация1
20:58:46 - 14.12.2025
11:05:08 - 11.12.2025
20:58:46 - 14.12.2025
20:58:46 - 14.12.2025








